Просмотры:0 Автор:Pедактор сайта Время публикации: 2025-03-20 Происхождение:Работает
Знаете ли вы, что 5-осевая машина ЧПУ может создавать очень сложные детали с невероятной точностью? Понимание 5-осевой системы координат ЧПУ является ключом к разблокировке этой возможности.
В современном производстве машины с ЧПУ играют решающую роль в производстве деталей в рамках таких отраслей, как аэрокосмическая, автомобильная и медицинская.
В этом посте мы рассмотрим, как работает 5-осевая система координат ЧПУ и почему она так важна для точного, эффективного производства.

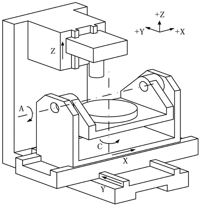
5 -осевая система координат ЧПУ относится к способности машины ЧПУ перемещать режущий инструмент вдоль пяти различных осей. Это допускает точное производство сложных деталей. В отличие от традиционных систем ЧПУ, которые обычно работают по трем остам, 5-осевая система включает в себя две дополнительные оси вращения, повышение гибкости и точности.
Оси x, y, z представляют три основных линейных движения:
Ось X : перемещает инструмент слева направо.
Ось Y : перемещает инструмент спереди назад.
Ось Z : перемещает инструмент вверх и вниз.
Эти оси необходимы для основного движения машины и являются основой для более сложных сокращений.
В 5-осевой системе ЧПУ инструмент не только способен перемещаться линейно, но также может вращаться вокруг двух дополнительных осей:
~!phoenix_var15_0!~~!phoenix_var15_1!~ ~!phoenix_var15_2!~.
~!phoenix_var16_0!~~!phoenix_var16_1!~ ~!phoenix_var16_2!~.
Это вращательное движение позволяет инструменту приближаться к заготовке с разных углов, что делает возможными замысловатыми разрезами без повторного расположения заготовки.
~!phoenix_var19_0!~ ~!phoenix_var19_1!~~!phoenix_var19_2!~~!phoenix_var19_3!~~!phoenix_var19_4!~
5 -осевая система ЧПУ значительно повышает точность, что позволяет иметь высоко детальные сокращения и сложные геометрии. Перемещая режущий инструмент вдоль пяти осей, он уменьшает ошибки, которые могут возникнуть с более простыми 3-осевыми системами. Эта возможность особенно важна при работе со сложными частями, которые требуют плотных допусков, таких как лопасти турбины или медицинские имплантаты.
Благодаря возможности подходить к заготовке с разных углов, 5-осевая система гарантирует, что сокращения более точные, минимизируя необходимость в переработке и улучшая общее качество части.
Одним из ключевых преимуществ 5-осевой системы является ее способность сократить время настройки. В традиционной обработке сложные детали часто требуют, чтобы несколько настройки были вручную перемещены. Тем не менее, 5-осевая машина может выполнять многонаугловые разрезы, не перемещая заготовку, уменьшая необходимость трудоемких настройки.
Меньше настройки означают повышение эффективности и более быстрое время производства, что имеет важное значение в отраслях, где время и стоимость являются критическими факторами, такими как аэрокосмическое и автомобильное производство.
5 -осевая система координат ЧПУ идеально подходит для обработки сложных деталей, которые требуют множества углов и высокой точностью. Компоненты, такие как Gears , Aerospace Parts , и медицинские инструменты получают выгоду от способности машины обрабатывать сложные формы и плотные допуски. Система позволяет сокращать различные углы, не перемещая деталь, повышая точность и сокращая время производства.
Например, такие детали, как лезвия турбины в аэрокосмической промышленности, требуют точных сокращений, которые легко достигаются с помощью 5-осевых машин ЧПУ.
5-axis CNC machines are essential for creating molds and tooling, where precision and intricate shapes are required. При изготовлении формы способность вращать заготовку под разными углами гарантирует, что сложные функции могут быть добавлены в формы, такие как подрезки или подробные текстуры. 5 -осевая система расширяет способность производить высококачественные, точные формы для таких отраслей, как автомобильная и пластиковая литья.
The 5-axis CNC system is often used in prototyping and customization, allowing manufacturers to quickly produce custom parts. Будь то для одноразовых или небольших производственных прогонов, гибкость 5-осевых машин помогает создавать прототипы, которые соответствуют точным спецификациям. Industries like medical and automotive benefit greatly from this ability to rapidly design and modify parts.
Чтобы максимизировать преимущества 5-осевой обработки , важно обеспечить точные настройки. Вот несколько советов:
Регулярно проверяйте калибровку машины , чтобы обеспечить точность.
Используйте правильное закрепление , чтобы получить деталь, минимизировать ошибки.
Оптимизируйте пути резки с использованием программного обеспечения CAD и CAM для сокращения времени цикла и повышения точности. Интеграция программного обеспечения помогает генерировать эффективные пути инструментов, гарантируя, что машина работает плавно.
Сосредоточив внимание на точных настройках и эффективном программировании машин, вы полностью используете мощность 5-осевой системы ЧПУ.
Материал, который вы выбираете, может значительно повлиять на результаты обработки. Общие материалы для 5-осевой обработки ЧПУ включают:
~!phoenix_var44_0!~~!phoenix_var44_1!~
~!phoenix_var45_0!~~!phoenix_var45_1!~
~!phoenix_var46_0!~~!phoenix_var46_1!~
Выбор правильного материала обеспечивает более плавную резку, более длительный срок службы инструмента и лучшее качество части.
Operating a 5-axis CNC machine requires specialized skills. Правильное обучение имеет решающее значение для:
~!phoenix_var50_0!~ ~!phoenix_var50_1!~
~!phoenix_var51_0!~ ~!phoenix_var51_1!~ ~!phoenix_var51_2!~.
~!phoenix_var52_0!~ ~!phoenix_var52_1!~
Обучение гарантирует, что операторы могут получить наилучшие результаты от машины при минимизации ошибок и повышения эффективности.
Основное различие между 3-осевыми и 5-осевыми машинами ЧПУ заключается в количестве осей, которые управляют движением:
3-осевая ЧПУ : перемещает режущий инструмент вдоль трех оси- x, y, z- с толку основных разрезов в прямом линейном направлении.
5-осевая ЧПУ : в дополнение к трем линейным осям, он включает в себя две вращательные оси ( A и B ), что позволяет инструменту вращать и получить доступ к нескольким углам.
Это добавленное вращательное движение позволяет 5-осевой машине ЧПУ делать гораздо более сложные разрезы, обрабатывать сложные фигуры и уменьшать необходимость в нескольких установках. Это важно для таких отраслей, как аэрокосмическая и медицина, где детали требуют высокой точности и множественных углов.
4-осевая машина с ЧПУ имеет одну дополнительную ось вращения по сравнению с 3-осевой машиной . Четвертая ось обычно вращается вокруг оси X (оси A), позволяя заготовке повернуть, пока режущий инструмент остается неподвижным. 4-осевая ЧПУ : предлагает большую гибкость, чем 3-осевая машина, но все же требует перемещения заготовки для вырезов с других углов. 5-осевая ЧПУ : обеспечивает еще большее движение, добавив дополнительную ось B , которая вращается вокруг оси Это устраняет необходимость перемещения заготовки во время обработки, что позволяет сделать более сложные детали более эффективно.Y.
В то время как 5-осевые машины с ЧПУ являются более универсальными и точными, 4-осевые машины, как правило, более доступны и подходят для деталей с менее сложными конструкциями.

5-осевые машины ЧПУ быстро развиваются благодаря достижениям как в программном, так и в оборудовании. Программное обеспечение CAM стало более интуитивно понятным, что позволяет операторам легко программировать комплексные сокращения и оптимизировать производительность машины. Между тем, улучшения оборудования в двигателях, датчиках и системах охлаждения сделали машины более быстрыми, более точными и более энергоэффективными.
Автоматизация и ИИ также играют растущую роль в будущем обработки ЧПУ. Системы, управляемые ИИ, могут анализировать и адаптировать процессы обработки в режиме реального времени, повышать эффективность и снижать ошибки. Автоматизация обеспечивает обработку зажигания, что означает, что машины могут работать автономно, повышать производительность и снижать затраты на рабочую силу.
В RBT Intelligent Equipment мы находимся в авангарде этих технологических достижений. Обладая более чем 24-летним опытом работы в сфере обработки ЧПУ, наши передовые 5-осевые машины ЧПУ предназначены для удовлетворения потребностей таких отраслей, как аэрокосмическая, автомобильная и медицинская.
Будущее 5-осевых систем ЧПУ значительно изменит современное производство. С постоянными улучшениями в материалах и возможностях машин эти системы могут обрабатывать более сложные конструкции и создавать детали с большей точностью. Инновации в композитных материалах и легких сплавах позволяют производить высокопроизводительные детали, которые были ранее невозможны или дорого.
Способность 5-осевых машин производить очень сложные компоненты окажет длительное влияние на такие отрасли, как аэрокосмическая, медицинские устройства и автомобиль. По мере того, как машины становятся более умными и способными, они обеспечат более быстрое прототипирование, производство индивидуального производства и масштабное производство, изменив то, как промышленности подходят к дизайну и производству.
5 -осевая система координат ЧПУ играет жизненно важную роль в точной обработке. Он предлагает непревзойденную эффективность , точности и универсальность в различных отраслях. Включив сложные сокращения, он открывает новые возможности для производства частично. Мы рекомендуем вам изучить, как 5-осевые системы ЧПУ могут улучшить ваш бизнес.
Свяжитесь с RBT для получения дополнительной информации или для запроса демонстрации наших 5-осевых машин ЧПУ.
A: Промышленности, такие как Aerospace , Automotive , Medical , и электроника, значительно выигрывает от 5-осевых машин ЧПУ из-за их способности обрабатывать сложные, высокие детали.
О: 5-осевые машины ЧПУ могут обрабатывать широкий спектр материалов, включая пластмассы , для металлов и композиты , что делает их универсальными для различных отраслей промышленности.
A: Части со сложными геометриями и сложными разрезами, такие как компоненты двигателя , турбинных лезвий и медицинские имплантаты , хорошо подходят для 5-осевой обработки.
A: Общие проблемы включают программирование машинного компьютера , и требования к навыкам оператора , которые могут повлиять на эффективность и качество части.
О: 5-осевая система ЧПУ позволяет разрезать с нескольких углов, уменьшать ошибки, повысить точность и устранять необходимость в перепозиции части во время обработки.